联系热线


SF型浮选机
产品概况:
SF浮选机用于分离有色金属、黑色金属、贵金属、非金属矿物和化工原料、回收有用矿物。该设备具有如下特点:吸气量大、功耗低。每槽兼有吸气、吸浆和浮选三重功能,自成浮选回路,不需任何辅助设备,水平配置,便于流程的变更.矿浆循环合理,能*大限度地减少粗砂沉淀。设有矿浆面的自控装置,调节方便 。叶轮带有后倾式的上下叶片。上叶片产生矿浆上循环,下叶片产生矿浆下循环。
产品结构及原理:
浮选机主要用于选别铜、锌、铅、镍、金等有色金属,也可以用于黑色金属和非金属的粗选和精选。选机由电动机三角带传动带动叶轮旋转,产生离心作用形成负压,一方面吸入充足的空气与矿浆混合,一方面搅拌矿浆与药物混合,同时细化泡沫,使矿物粘合泡沫之上,浮到矿浆面再形成矿化泡沫。调节闸板高度,控制液面,使有用泡沫被刮板刮出。

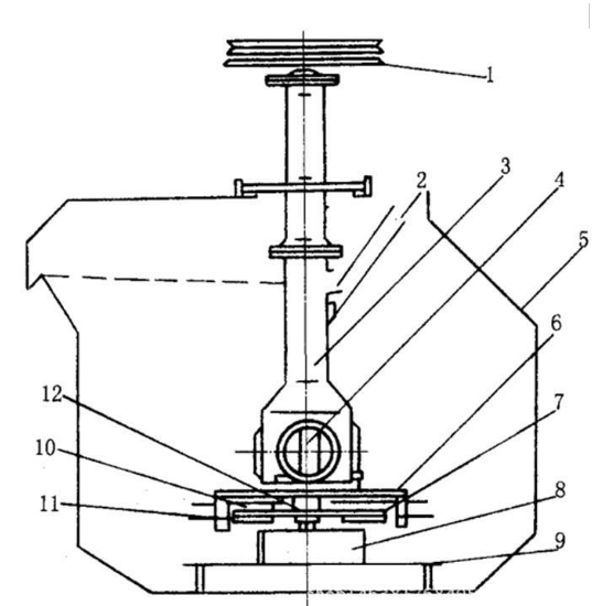
1.带轮 2.吸气管 3.中心筒 4.主轴 5.槽体 6.盖板 7.叶轮
8.导流管 9.假底 10.上叶片 11.下叶片 12.叶轮盘
SF型浮选机采用“U”型槽体、空心轴充气和悬挂定子,尤其是采用了一种新式叶轮。是北京矿院*新技术,这是一种叶片后倾一个角度的锥形叶轮,类似于高比转速的离心泵轮,扬送矿浆量大、压头小、功耗低且结构简单。
在叶轮腔中还装置了多孔圆筒形空气分配器,使空气能预先均匀地分散在叶轮叶片的大部分区域,提供了较大的矿浆-空气接角界面。
SF型浮选机在工作时,电动机通过V带驱动主轴,使其下部的叶轮旋转。此浮选机的主要特点即表现在叶轮上。叶轮带有后倾式双面叶片,可实现槽内矿浆双循环。叶轮旋转时,上下叶轮腔内的矿浆在上下叶片(即主辅叶片)的作用下产生离心力而被甩向四周,使上下叶轮腔内形成负压区。同时盖板上部的矿浆经盖板上的循环孔吸入到上叶轮腔内,形成矿浆上循环。而下叶轮腔内被甩出的矿浆比上叶片甩出的三相混合物比重大,因而离心力较大,运动速度衰减较慢,且对上叶片甩出的三相混合物产生了附加的推动力,使其离心力增大,从而提高了上叶轮腔愉的真空度,起到了辅助吸气作用。下叶片向四周甩出矿浆时,其下部矿浆向中心补充,这样就形成了矿浆的下循环。而空气经吸气管,中心筒被吸入到上叶轮腔,与被吸入的矿浆相混合,形成大量细小气泡,通过盖板稳流后,均匀地弥散在槽内,形成矿化气泡。矿化气泡上浮至泡沫层,由刮板出即为泡沫产品。
机械搅拌式浮选机的特点:矿浆的充气和搅拌都是由机械搅拌器来实现的,属于外气自吸式浮选机,充气搅拌器具有类似泵的抽吸特性,既自吸空气又自吸矿浆。
SF浮选机其特点是:
**、盖板上安装了18~20个导向叶片。
第二、叶轮、盖板、垂直轴、进气管、轴承、皮带轮等装配成-个整体部件。
第三、槽子周围装设了一圈直立的翅板,阻止矿浆产生涡流。
SF型浮选机是自吸气、自吸浆的机械搅拌式浮选机,主要用于有色金属、黑色金属和非金属矿物的选别。
工作原理:
SF型浮选机其结构特点是采用后倾式双叶片,它由主辅叶片组成,主叶片的作用一是吸入足够的空气,二是吸入矿浆。辅叶片的作用主要是抽吸其下部矿浆向四周抛出。这部分矿浆比主叶片抛出的气液混合物比重大,因此,离心力亦大,对气液混合物具有较大的加速作用,加大了叶轮腔的真空度,提高浮选机的吸气量,辅叶片的另一作用是使下部矿浆产生循环,增加叶轮到槽底的距离而不产生粗砂沉淀。
当叶轮旋转时,在叶轮腔内形成负压区,空气经吸气管及中心筒被吸进叶轮腔,同时,矿浆经中心筒及定子上的循环孔被吸进叶轮腔,在此完成了气液混合后以较大的切向及经向动量离开叶轮叶片,通过定子较均匀地分散到槽中,大量的矿化气泡和一部分矿浆升到浮选槽上部,剩余的矿浆返回下部再循环。
矿用浮选机使用说明:
开机前应先检查各部位螺栓,停机起动前应先手动代轮旋转,以防沉淀物淤积增加电动机负荷,工作时应细心调整闸门高度,使液面保持稳定,随时将矿浆液面上的矿化泡沫刮入流槽。叶轮与定子应保持一定的间距,磨损时应注意更换,泵体内轴承每三个月要保养一次。
易损件:叶轮,定子。
浮选机的安装:
浮选机本身具有良好的稳定性,所以安装时不需要特殊的基础,但必须保证溢流堰的水平。浮选机的安装通常按下述步骤进行(以A型浮选机为例):
1、安装前的检查。浮选机安装前将包装时的保证物及防腐油去掉,对照装箱单仔细检查各部件及零件,若发现某种缺陷应设法消除。必要时应拆卸清洗、校正和调整,并检查所有零件是否完整。
2、成套性部件的检查。浮选机安装前应检查部件套数,确定所需左式和右式装机方案。根据浮选机总图检查零,部件的数量等。
3、浮选机安装偏差检查。
1)安装纵、横中心极限偏差为±3mm,且安装在同一条中心线上的浮选机,其中心直线度公差为3mm;
2)安装标高极限偏差为±5mm,且安装在同一条中心线上的浮选机,相对标高差不大于3mm;
3)安装纵、横向水平度公差为0.30/1000。
4、槽体的装配和安装。
1)槽体在机体长度方向应保持水平;
2)成排安装的浮选机,在槽体连成后溢流堰应水平,高差不大于5mm;
3)成排安装的浮选机,在槽体连成各槽相对位置差不大于5mm;
4)各槽体的连接采用焊接;
5)槽体定位后应与安装垫板、平台或预埋件焊接在一起。
5、竖轴部分检查及传动装配。
1)转子(叶轮)与定子(盖板)间的径向与轴向间隙符合图纸要求,保证叶轮空转时的灵活性;
2)竖轴传动装置安装时必须校正电动机中心线的垂直度,电动机三角皮带轮和主轴上的三角皮带轮高度是否相符及成套三角皮带轮的张紧程度。
6、泡沫刮板的安装。
1)校正泡沫刮板的直线性及水平性;
2)检查刮板轴承安装是否正确以防卡轴,刮板回转轴各轴承同轴度公差为Φ2mm;
3)刮板回转轴与溢流堰应平行,平行度公差为3mm;
4)刮板叶片和溢流堰之间的间隙为4-6mm。
7、中间室的要求。
1)安装时中间室与槽体及闸门与中间室之间的接触,应紧密使之互相间无间隙;
2)矿浆液面调整闸板安装后保证灵活。
注意事项:
如果浮选矿浆中含有较多的矿泥,会对浮选带来一系列的不良影响。主要影响有以下几点:
①易夹杂于泡沫产品中,使精矿品位下降。
②易罩盖于粗粒表面,影响粗粒的浮选。
③吸附大量药剂,增加药剂消耗。
④使矿浆发黏,充气条件变坏。
产品应用范围:
浮选机主要用于选别铜、锌、铅、镍、金等有色金属,也可以用于黑色金属和非金属的粗选和精选。浮选机适用于有色黑色金属的选别,还可用于非金属如:煤莹石、滑石的选别。该浮选机由电动机三角带传动带动叶轮旋转,产生离心作用形成负压,一方面吸入充足的空气与矿浆混合,一方面搅拌矿浆与药物混合,同时细化泡沫,使矿物粘合泡沫之上,浮到矿浆面再形成矿化泡沫。调节闸板高度,控制液面,使有用泡沫被刮板刮出。
产品规格及技术参数:
型号 | 容积m3 | 叶轮直径Mm | 叶轮转速R/min | 处理量m3/min | 槽体尺寸Mm | 叶轮功率Kw | 刮板功率Kw | 重量kg |
SF-3A | 0.37 | 300 | 352 | 0.2-0.4 | 700/700/750 | 1.5 | 0.55 | 466 |
SF-4A | 0.7 | 350 | 400 | 0.3-0.9 | 900/820/950 | 3 | 0.55 | 820 |
SF-5A | 1.2 | 450 | 312 | 0.6-1.2 | 1100/1100/1100 | 5.5 | 1.1 | 1360 |
SF-6A | 2.8 | 550 | 268 | 1.5-3.5 | 1700/1600/1150 | 11 | 1.5 | 2126 |
SF-7A | 4 | 650 | 220 | 2-4 | 1850/2050/1200 | 15 | 1.5 | 2579 |
SF-8A | 8 | 760 | 191 | 4-8 | 2200/2900/1400 | 30 | 1.5 | 4118 |